GWINTOWNIK M20 RĘCZNY M20x1.5mm 2 szt DIN-2181/2P
Cena regularna:
towar niedostępny
dodaj do przechowalni
0
Opis
GWINTOWNIK M20 RĘCZNY M20x1.5mm 2 szt DIN-2181/2P

⚠️Zastosowanie:⚠️
Przeznaczone do zastosowań ogólnych, do gwintowania otworów przelotowych i nieprzelotowych (<2.5d), w stalach konstrukcyjnych węglowych, niskostopowych i staliwie o wytrzymałości do Rm < 600MPa.

⚙️Specyfikacja techniczna:⚙️
☑️marka: Horn
☑️typ gwintu: metryczny zwykły prawoskrętny.
☑️twardość: 60°HRc (+/-1°).
☑️ilość rowków wiórowych: 3.
☑️zarys gwintu: kąt 60°.
☑️materiał wykonania: stal stopowa narzędziowa NC6 (W-1.2063).
✔️W zestawie:
1️⃣gwintownik nr1 (zdzierak)
2️⃣gwintownik nr2 (wykańczak)
♻️dedykowane plastikowe etui
✔️Normy:
✅Zgodne z normą: DIN-2181/2P.
✅Norma gwintu: ISO DIN-13.
✅Tolerancja gwintu: ISO2 (6H).
Zalecana średnica otworu pod gwintowanie to ø17.5 mm.

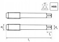
✏️Wymiary (rysunek techniczny):
- gwint (d1): M20.
- skok gwintu (P): 1.5 mm.
- długość części całkowitej (l1): 95 mm.
- długość uchwytu zabieraka (l2): 15 mm.
- średnica uchwytu zabieraka (d2): kwadrat 12.0 mm.
